山东鑫旺通金属制品有限公司
  栏目导航        更多>>>>
新闻导航
信息列表
推荐信息
钢管价格
钢管行情
钢管知识
今日供应
无缝钢管专栏
  产品展示        更多>>>>
q345b无缝钢管
45号无缝管/45#厚壁无缝管
冷拔45号无缝管现货表
27simn厚壁钢管
冷拔厚壁45号无缝管供应商-聊城冷…
钢筋连接套筒用27*16.2的45#精密…
热轧大口径27simn厚壁钢管
库存27simn厚壁钢管/27simn厚壁无…
20#精密钢管
20#无缝镀锌管
60×6冷拔无缝钢管报价
直径23的精密钢管
钢筋连接套筒成品
汇兴达钢管厂产20#无缝钢管现货规…
产品展示 您当前位置:首页/ 砂型离心铸铁管(GB/T3421—1982)
  
产品编号:
812930516
产品名称:
砂型离心铸铁管(GB/T3421—1982)
规  格:
见下表
产品备注:
最新优惠活动请咨询
产品类别:
铸铁管
 
    产 品 说 明

 
砂型离心铸铁管(GB/T3421—1982)
砂型离心铸铁管适用于输送水和煤气等,铸铁直管按壁厚分为P、G两级。
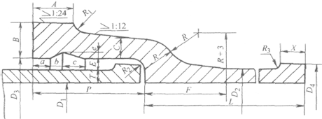
(1)尺寸和形状
承插铸铁直管
R=C+E  R1=C R2=E
承插铸铁直管的尺寸
公称口径
DN/mm
各部尺寸/mm
a
b
c
e
75~450
15
10
20
6
500以上
18
12
25
7
砂型离心铸铁管的壁厚和质量
公称口径
DN/mm
壁厚/mm
内径/mm
外径
D2/mm
有效长度/mm
承口凸部质量
/kg
插口凸部质量
/kg
直部1m质量
/kg
T
D1
5000
6000
总质量/kg
P级
G级
P级
G级
P级
G级
P级
G级
P级
G级
200
8.8
10.0
202.4
200
220.0
227.0
254.0
 
 
16.30
0.382
42.0
47.5
250
9.5
10.8
252.6
250
271.6
303.0
340.0
 
 
21.30
0.626
56.3
63.7
300
10.0
11.4
302.8
300
322.8
381.0
428.0
452.0
590.0
26.10
0.741
70.8
80.3
350
10.8
12.0
352.4
350
374.0
 
 
566.0
623.0
32.60
0.857
88.7
98.3
400
11.5
12.8
402.6
400
425.6
 
 
687.0
757.0
39.00
1.460
107.7
119.5
450
12.0
13.4
452.4
450
476.8
 
 
806.0
892.0
46.90
1.640
126.2
140.5
500
12.8
14.0
502.4
500
528.0
 
 
950.0
1030.0
52.70
1.810
149.2
162.8
600
14.2
15.6
602.4
599.6
630.8
 
 
1260.0
1370.0
68.80
2.160
198.0
217.1
700
15.5
17.1
702.0
698.8
733.0
 
 
1600.0
1750.0
86.00
2.510
251.6
276.9
800
16.8
18.5
802.6
799.0
836.0
 
 
1080.0
2160.0
109.00
2.860
311.3
342.1
900
18.2
20.2
902.9
899.0
939.0
 
 
2410.0
2630.0
136.00
3.210
379.1
415.7
1000
20.5
22.6
1000.0
955.8
1041.0
 
 
3020.0
3300.0
173.00
3.550
473.2
520.6
注:
1.计算质量时,铸铁密度采用7.20g/cm3.
2.总质量=直部1m质量×有效长度+承插口凸部质量(计算结果四舍五入,保留三位有效数字)。
(2)外形
砂型离心铸铁管的弯曲度
公称口径DN/mm
弯曲度/mm
200~450
1.51
>1500
1.251
注:1.表中1代表管的有效长度(m),管长(m)乘以1前的系数即为弯曲度。
      2.铸铁管端面应与轴线相垂直。
(3)化学成分
砂型离心铸铁管的磷含量WP不应大于0.30%,硫含量Ws不应大于0.10%。
(4)力学和工艺性能
管环抗弯强度
公称口径DN/mm
抗弯强度óbbMPa
≤300
340
350~700
280
≥800
240
砂型离心铸铁管的水压试验
直管种类
公称口径DN/mm
试验压力/MPa
P级
≤450
2.00
≥500
1.50
G级
≤450
2.50
≥500
2.00
 


  • 上一个产品:没有了
  • 下一个产品:N1型接口离心铸造球墨铸铁管(GB/T13295-1991)
  • 返回上级产品
  • 点击数:1781  录入时间:2011/4/24 【打印此页】 【关闭

    返回首页 | 钢管市场 | 信息导航 | 信息推荐 | 信息列表 | 产品查询 | 公司荣誉 | 关于我们 | 联系我们 | 在线留言
    网站关键词:Q345B无缝钢管,27simn厚壁钢管,精密钢管,冷拔无缝钢管厂,45号无缝管
    电话:0635-2995805、2995806  传真:0635-2995805  手机:18265567096、15964376043  鲁ICP备18017287号-1
    Copyright 山东鑫旺通金属制品有限公司  地址:聊城市开发区大东钢管城  技术支持:前沿网络